歡迎來到米哥網誌
我是個科學園區工程師15年,來到咖啡業6年的小小業務
專營全自動咖啡機租賃買賣、高海拔精品豆及高品質商業豆
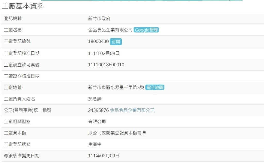
公司金品食品企業有限公司
咖啡的品牌叫做赫曼咖啡
我們使用德國GIESEN烘豆機,挑選高海拔生豆
使用獨家悶烘法,讓你杯杯回甘,生津止渴
全自動咖啡機皆為台灣總代理,擁有最完整的後勤服務能力
讓你的咖啡機不會成為孤兒

還在為了要不要使用咖啡機 煩惱嗎?

找我你能得到什麼呢?
如果你/妳是 店家老闆或闆娘
還對咖啡市場抱有一絲希望
- 如果你/妳是
- 店家老闆或闆娘
- 公司行號總務或福委
- 家庭(注重乾淨,每天咖啡2杯)
我們為了品質的穩定
已完成合法的烘豆廠
工廠登記編號:18000430


讓我來排除你得咖啡疑問?
歡迎來電詢問
LINE ID: Rice0502
Mobile:0930815851
FB搜尋:黃中興(個人)
赫曼咖啡黃中興(粉專)
Sorry! This product is not available for purchase at this time.